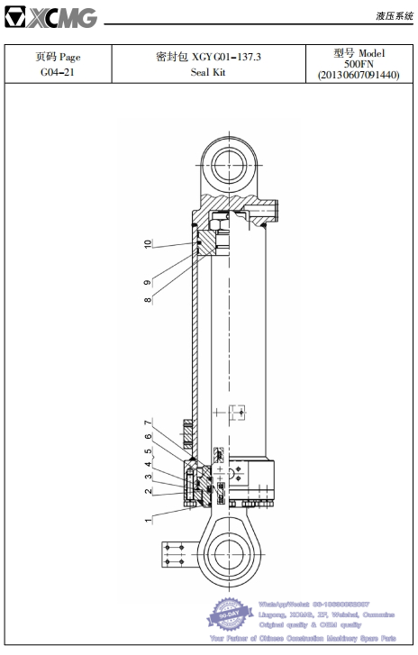
032 密封包 XGYG01-137.3 型号 500FN (20130607091440)
Seal Kit Model 500FN (20130607091440)-- XCMG Loader LW500FN Parts Catalog

件号 部件号 零件名称 数量 备注
Item Part No. Part Name Qty Remarks
1 803268430 防尘圈 Wiper 1
2 803268431 杆密封 Rod Seal 1
3 803197190 O 形圈 185伊3.1 O-Ring 1 GB/T1235-1976
4 803195734 O 形圈 180伊5.7 O-Ring 1 GB/T1235-1976
5 803268432 挡圈渊油缸用冤 Backup Ring 1 D180X171X2
6 803268433 斯特封 Step Seal 1
7 803268434 杆用支撑环 Support Ring 2
8 803196407 O 形圈 75伊5.7 O-Ring 1 GB/T1235-1976
9 803268435 活塞用支撑环 Support Ring 2
10 803268436 格莱圈 Glyd Ring 1
033 分配阀(251800152-1)型号500FN(20130607091440)
Valve Model 500FN (20130607091440)-- XCMG Loader LW500FN Parts Catalog

件号 部件号 零件名称 数量 备注
Item Part No. Part Name Qty Remarks
1 251800152-101516-01 开口销 4伊20 Pin Shaft 2 Gb91-86
2 251800152-101516-02 垫圈 12 Washer 2 Gb97.2-85
3 251800152-101516-03 圆肩销 Pin 2 Df-32-01
4 251800152-101516-04 动臂阀杆 Slide Valve 1 Gdf-32芋-03a
5 251800152-101516-05 压板 Plank 2 Gdf-32-04
6 251800152-101516-06 CK28 防尘圈 Dust Ring 2 Ck28
7 251800152-101516-07 垫圈 Washer 2 Gdf-32-02
8 251800152-101516-08 O 形圈 27.7伊3.55 O-Ring 2 Gb3452.1-82
9 251800152-101516-09 O 型圈 11.8伊2.1 O-Ring 1 Gb3452.1-82
10 251800152-101516-10 测压口堵头 Screw Plug 1 Gdf-32-18
11 251800152-101516-11 O 形圈 31.5伊3.55 O-Ring 2 Gb3452.1-82
12 251800152-101516-12 单向阀座 Single Direction Seat 2 Gdf-32-05
13 251800152-101516-13 单向阀弹簧 Single Direction Spring 2 Gdf-32-07
14 251800152-101516-14 单向阀 Single Direction Valve 2 Gdf-32-08
15 251800152-101516-15 O 形圈 32伊3.1 O-Ring 1 Gb1235-76
16 251800152-101516-16 螺塞 Screw Plug 1 Df-32-20a
17 251800152-101516-17 垫板 Plank 2 Gdf-32-09a
18 251800152-101516-18 弹簧压座 Spring Seat 2 Gdf-32-11
19 251800152-101516-19 钢球 7/16" Steel Ball 2 Gb308-77
20 251800152-101516-20 弹簧 Spring 1 407428
21 251800152-101516-21 弹簧座 Spring Seat 1 Gdf-32-15
22 251800152-101516-22 端盖 End Cover 1 Gdf-32-14b
23 251800152-101516-23 端盖橡胶塞 End Cover Rubber Stuff 1 Gdf-32-20
24 251800152-101516-24 端盖橡胶塞 End Cover Rubber Stuff 1 Gdf-32-19
25 251800152-101516-25 端盖 End Cover 1 Gdf-32-12b
26 251800152-101516-26 螺栓 M8伊20 Bolt 8 Gb21-76
27 251800152-101516-27 垫圈 8 Washer 8 Gb93-76
28 251800152-101516-28 回位弹簧 Spring 1 Gdf-32-16
29 251800152-101516-29 弹簧座 Spring Seat 1 Gdf-32-10a
30 860117810 GDF32 -17.5 主 安全阀 (浙江高宇)(备件)Safety Value 1
31 251800152-101516-30 O 形圈 21.2伊2.65 o-Ring 1 Gb3452.1-82
32 251800152-101516-31 螺塞 Screw Plug 1 Gdf-25-18b
33 251800152-101516-32 主阀体 Main Valve Body 1 Gdf-32-01c
34 251800152-101516-33 垫圈 10 Washer 8 Gb93-87
35 251800152-101516-34 螺栓 M10伊60 Bolt 8 Gb5782-86
36 251800152-101516-35 过载阀体 Over Loading Valve 2 Zl50106c1-01
37 251800152-101516-36 O 形圈 32伊3.1 o-Ring 2 Gb1235-76
38 860117811 GDF32 -17.5 高 压过载阀(备件)(浙江高宇) Over Loading Value 2
39 860117812 GDF32 -17.5 低 压过载阀(备件)(浙江高宇) Over Loading Value 1
40 251800152-101516-37 GDF32 -17.5过载阀 (浙江高宇低 压)(备件)Over Loading Value 1
41 251800152-101516-38 螺钉 M6伊11 Bolt 8 Gb67-85
42 251800152-101516-39 转斗阀杆 Tilt Plunger 1 Gdf-32芋-06a
034 转向液压系统 型号 500FN (20130607091440)
Steering Hydraulic System Model 500FN (20130607091440)-- XCMG Loader LW500FN Parts Catalog

件号 部件号 零件名称 数量 备注
Item Part No. Part Name Qty Remarks
1 803069946 转向油缸 Cylinder 1
2 251805576 软管总成 Hose Assembly 2
3 803164795 弯头 Adapter 2
4 803164788 三通接头 Adapter 2
5 803164743 接头 Adapter 4
6 251806231 软管总成 Hose Assembly 1
7 251805639 软管总成 Hose Assembly 1
8 803164242 接头 Connector 3
9 251805642 软管总成 Hose Assembly 1
10 251806263 软管总成 Hose 1
11 803164793 弯头 Adapter 3
12 251805644 软管总成 Hose Assembly 1
13 805300014 垫圈 10 Washer 6 GB/T93-1987
14 805100086 螺钉 M10伊90 Screw 2 GB/T 70.1-2008
15 251805645 软管总成 Hose Assembly 1
16 251806232 软管总成 Hose Assembly 1
17 803004084 转向器总成 Steering Control Unit 1
18 805000727 螺栓 M10伊25 Bolt 4 GB/T 5783-2000
19 803163638 弯头 Elbow 1
20 803164756 接头 Adapter 1
21 803073807 单向阀 Check Valve 1
22 803004061 优先型流量控制阀 Valve 1
23 805000715 螺栓 M12伊25 Bolt 2 GB/T 5783-2000
24 805300018 垫圈 12 Washer 2 GB/T93-1987
25 803164828 法兰组件 Flange 1
26 251805652 法兰接头组件 Flange Assembly 1
27 252101608 管夹 Pipe Clamp 1
28 251800630 支板 Plank 1
29 251800629 接头 Connector 1
30 805301413 垫圈 20 Washer 1
31 803164899 接头 Adapter 3
32 803164229 O 型密封圈 O-Ring 1
33 803164332 接头 Adapter 1
035 密封包 型号500FN (20130607091440)
Kit Model 500FN (20130607091440)-- XCMG Loader LW500FN Parts Catalog

件号 部件号 零件名称 数量 备注
Item Part No. Part Name Qty Remarks
1 803268448 防尘圈 Dust-Proof Ring 1 XGYG0-FC-d45
2 803195209 O 形圈 95伊3.1 O-Ring 1 GB/T1235-1976
3 801100234 O 型密封圈 O-Ring 1 GB/T3452.1-1992
4 803268450 杆密封 Rod Seal 1 XGYG01-YF-D45
5 803268452 挡圈 Backup Ring 1 D90X81X2
6 803197171 O 形圈 90伊5.7 O-Ring 1 GB/T1235-1976
7 803268486 斯特封 Step Seal 1 XGYG01-SF-D90
8 803268470 活塞用支撑环 Support 2 XGYG01-ZH-D90
9 803196592 O 形圈 50伊3.1 O-Ring 1 GB/T1235-1976
10 803268460 格莱圈 Glyd Ring 1 XGYG01-GL-D90
036 集中测压系统 型号 500FN (20130607091440)
Central Surveying Pressure System Model 500FN (20130607091440)-- XCMG Loader LW500FN Parts Catalog

件号 部件号 零件名称 数量 备注
Item Part No. Part Name Qty Remarks
1 805000018 螺栓 M8伊20 Bolt 2 GB/T5783-2000
2 805300010 垫圈 8 Washer 2 GB/T 93-1987
3 252110311 测压接头总成 Piezometric Joint Assembly 3
4 251805158 安装板 Moounting Plete 1
5 252110317 测压线 Piezometric Harness 1
6 805002295 接头 Connector 2
7 803164245 接头 Connector 2
8 252110315 测压线 Piezometric Harness 1
9 252110316 测压线 Piezometric Harness 1
10 803166753 接头 Adaptor 1 GE10L1/8NPT
11 253101078 测压标识 Piezometric Decal 1
Full range of spare parts for XCMG Wheel Loader ZL50G, ZL50GN, LW500F, LW500FN, LW500K,LW500KN
XCMG Wheel Loader Spare parts, whatsapp 86-18630852087
LW500FN WHEEL LOADER PARTS MANUAL
LW500FN 轮式装载机零件手册
XUGONG SCIENCE & TECHNOLOGY CO.,LTD.
徐州工程机械科技股份有限公司
Related parts:
Related parts:
Engine assembly, axle assembly, Front Axle, Rear Axle, Front Drive Shaft, Rear Drive Shaft, Main Driving Shaft, Transmission assembly, main drive, hub reducer, crown pinion, planet carrier assembly, sun gear, Torque Converter,
Torque Converter assembly, Air-conditioner, Fuel tank, Inlet Oil Hose, Outlet Oil Hose, Washer, Flange,Water radiator,Muffler, Supporting Bracket, Rubber Block, Fuel Cutoff Solenoid Valve, Accelerator Control Valve, Oil Filter
Steel Ring, Nut, Brake assembly, Carrier assembly, Pinion Gear, Bevel Gear, Bearing Seat, Lock plate, Cover, Differential assembly, Thrust washer, Cross shaft, Pinion washer, Planet pin,
Sleeve, Pin, Oil seal seat, Hub, Compound seal, Gear ring, Spacer, Brake disc, Brake caliper, Pin shaft, Injector, Nozzle, Clamp, Friction plate, Dustproof ring, Piston, Hose, Transmission filter, Paper Pad, Oil Inlet Flange,
Ball Articulating Joint, Shift Pump, Transmission pump, Steering unit, Right Angle Joint, Oil Outlet Flange, Elastic Plate, Turbine, Turbine Seat, Idle Pulley, Pump Wheel, Pump Wheel Seat, Frame Oil Seal, Retaining Ring,
Driven Gear, Idler Pulley Seat, Torque Converter Housing, Pressure Reduction Valve, Clutch Disc, Steel Ball, Piston Ring, Snap Ring, Gear, Roller Bearing, Middle Shaft, Cotter Pin,
Transmission Control Valve, Yoke, Shift Control, Joystick, Steering cylinder, Boom Cylinder, Tilt cylinder, Tilting cylinder, Distributing Valve, Steering Wheel, Steering Column, Valve Block, Steering Control Unit
Rotator & Stator, Tank, Level Gauge, Flange Joint, Supporting Ring, Tube, Bracket, Clamp cylinder, List cylinder, Control Valve, Wiper, Wiper Blades, Wiper motor, Engine Oil Pressure Meter, Working Lamp, Water temperature Meter, Fan
Signal Lamp, Air Pressure Meter,Head lamp, Oil Temperature Meter, Timer, Switch, Warning Buzzer, Fuse box, Oil Pressure pipe, Rear lamp, Temperature Sensor, Tail Lamp, Pressure switch,Alternator, Starter, Temperature Sensor,
Instrument panel, Front Chassis Wire Assembly, Front Lamp, Front Chassis, Lift Cylinder Pin, Front Lamp Bracket, Tilt Cylinder Pin Shaft, Lift Arm Pin, Front Steering Pin, Rear Chassis, Rear Steering Pin, Lower Flange, Knuckle Bearing,
Upper Flange, Articulating Pin, Oil Injecting Pipe, Auxiliary Chassis, Bushing,Counter Weight, Rear Handrail, Lamp Bracket, Left Fender, Right Fender, Left Ladder, Right Ladder, Engine Hood,Door locker
Left Door, Right Door, Air spring, Cushion, Hinge, Lift Arm, Pitman Arm end Pin, Upper Shaft Pin, Link, Bucket, Bucket teeth, Middle teeth, Upper Clamp, Pin, Lower Clamp, Instrument Box
Rear Plate, Parking Brake, Compressor, Evaporator, Condenser, Condenser Bracket, Heater, Cut-off Valve, Braking Control Valve, Air Master, Air booster, Air tank, Water Draining Valve, Inflating Valve
Clutch housing, Thrust washer, Transmssion pump, Control valve, Snap ring, Clutch disk, Clutch assembly, Transmission housing,
Air filter, Liner, Liner Oring, Connecting rod bearint, Main bearing, Thrust bearing, Camshaft bushing, Connecting rod bushing, Piston, Piston pin, piston ring, Retainer ring, Connecting rod, Crankshaft, Camshaft, oil pump,
water pump, turbo charger, Cylinder head gasket, Overhaul gasket, Valve seal, Front crankshaft seal, Rear Crankshaft seal, Valve seal, Injector, Fuel pump, Fuel injection pump, Cylinder head, Cylinder body, Inlet valve, Outlet valve, Valve seat,
Valve spring, Valve guide, Sensor, Cutoff solenoid valve and etc