052 储气缸 0251806928 型号 500FN (20130607091440)
Air Reservoir Model 500FN (20130607091440)-- XCMG Loader LW500FN Parts Catalog

件号 部件号 零件名称 数量 备注
Item Part No. Part Name Qty Remarks
1 252904206 储气缸进气管 Hose 1
2 803164613 接头 Joint 2
3 803004050 安全阀 Relief Valve 1 HF150
4 251805342 储气缸出气管 Pipe 1
5 250200681 储气缸 Air Reservoir 1
6 800787367 锥阀开关 R1/4 Switch 1
7 227301565 1/4 球阀 Valve 1
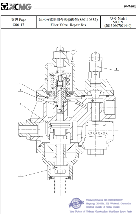
053 油水分离器组合阀修理包860110632 型号 500FN (20130607091440)
Filter Valve Repair Bo Model (20130607091440)-- XCMG Loader LW500FN Parts Catalog

件号 部件号 零件名称 数量 备注
Item Part No. Part Name Qty Remarks
1 放水阀门 Drain Valve 1 SH380A-3511038
2 O 形密封圈 O-Ring 1 SH380A-3511061
3 O 形密封圈 O-Ring 1 SH380A-3511071
4 膜片 Rubber 1 SH380A-3511078
5 安全阀 Safety Valve 1 150-3511050
7. 操纵与驾驶室Controls and Cab
054 方向机 型号 500FN (20130607091440)
Steering Machine Model (20130607091440)-- XCMG Loader LW500FN Parts Catalog

件号 部件号 零件名称 数量 备注
Item Part No. Part Name Qty Remarks
1 转轴组件 Shaft 1 RC3400-1010-01
2 上轴承座 Bearing Block 1 RC3400-1010-02
3 轴承 16006 Bearing 2 GB/T276-1994
4 轴承盖板 Cover 1 RC3400-1010-03
5 上支架 Bracket 1 RC3400-1010-04
6 小支架组件 Bracket 1 RC3400-1010-05
7 27 固定套 Fixed Tube 2 RC3400-1010-06
8 18 固定套 Fixed Tube 2 RC3400-1010-07
9 把手组件 Handle 1 RC3400-1010-08
10 拉簧 Tension Spring 3 RC3400-1010-09
11 转板螺栓 Bolt 1 RC3400-1010-10
12 旋转轴压板 Plate 2 RC3400-1010-11
13 下支架 Bracket 1 RC3400-1010-12
14 35 固定套 Fixed Tube 1 RC3400-1010-13
15 26 固定套 Fixed Tube 1 RC3400-1010-14
16 底板 Bottom-Board 1 RC3400-1010-15
17 底座组合 Bearer 1 RC3400-1010-16
18 大包壳固定板 Plate 1 RC3400-1010-17
19 滑杆组件 Sliding Rod 1 RC3400-1010-18
20 滑槽 Slideway 1 RC3400-1010-19
21 上齿板 Plate 2 RC3400-1010-20
22 加强板 Plate 2 RC3400-1010-21
23 转轴 Shaft 1 RC3400-1010-22
24 转板螺栓 II Bolt 1 RC3400-1010-23
25 旋转轴小螺栓 Bolt 2 RC3400-1010-24
26 15 固定套 Fixed Tube 2 RC3400-1010-25
27 15 固定套支撑板 Plate 2 RC3400-1010-26
28 侧支架 Bracket 1 RC3400-1010-27
29 下轴承座 Bearing Block 1 RC3400-1010-28
30 M6 螺母 Nut 1 GB/T6170-2000
31 M6伊16 螺钉 Screw 1 GB/T823
32 下齿板 Plate 2 RC3400-1010-29
33 M6伊12 螺栓 Bolt 4 GB/T70.1-2000
34 拉簧 Tension Spring 2 RC3400-1010-30
35 20 固定套 Fixed Tube 2 RC3400-1010-31
36 档圈 Check Ring 2 GB/T894.1-1986
37 弹簧挂勾柱 Spring Hook Column 1 RC3400-1010-32
38 下轴承座盖板 Cover 1 RC3400-1010-33
39 上齿板支撑座 Bearer 2 RC3400-1010-34
40 旋转轴螺栓 Bolt 2 RC3400-1010-35
41 拉簧 Tension Spring 1 RC3400-1010-36
42 垫圈 Washer 2 RC3400-1010-37
055 内饰总成(配空调) 型号 500FN (20130607091440)
Interior Model 500FN (20130607091440)-- XCMG Loader LW500FN Parts Catalog

件号 部件号 零件名称 数量 备注
Item Part No. Part Name Qty Remarks
1 252604424 左后侧围下护板 Left Rear Panel 1
2 252604423 左侧碰锁盖板 Lock Cover 1
3 252901214 左后立柱护板 Left Rear Pillar 1
4 252901205 衣帽钩 Clothes Hook 2
5 252604426 左门护板总成 Left Door Panel 1
6 十字槽盘头螺钉 Screws 4 Q2140612
7 左门扣手盖板 Door Lock Cover 1
8 门护板装饰帽 Fastener Cap 4
9 252901212 左前立柱护板 Left Front Pillar 1
10 252604409 左前侧护板 Left Front Panel 1
11 252604407 顶棚 Ceiling 1
12 组合开关支架 Switch Bracket 1
13 顶棚后检修盖板 Ceiling Back Cover 1
14 喇叭罩 Speaker Cover 2
15 252901206 内视镜 Rearview Mirror 1
16 顶棚前检修盖板 Ceiling Front Cover 1
17 252901208 顶灯 Head Lamp 1
18 十字槽盘头自攻螺钉 Tapping Screws 2 Q2715525
19 螺母 Nut 4 Q340B04
20 252901207 遮阳板 Sun Visors 1
21 十字槽盘头螺钉 Screws 6 Q2540520
22 十字槽盘头自攻螺钉 Tapping Screws 102 Q2714219
23 大装饰帽 Fastener Cap 30
24 大半圆头自攻螺钉 Tapping Screws 10 Q2735516
25 小装饰帽 Fastener Cap 28
26 252901213 右前立柱护板 Right Front Pillar 1
27 252604414 前围护板总成 Front Panel 1
28 252604410 右前侧护板 Right Front Panel 1
29 252901203 下门槛护板 Doorsill Panel 2
30 252901211 右门护板总成 Right Door Panel 1
31 右门扣手盖板 Door Lock Cover 1
32 252604425 右后侧护板 Right Rear Panel 1
33 侧维修盖板 Side Repair Cover 2
34 右侧碰锁盖板 Lock Cover 1
35 252901215 右后立柱护板 Right Rear Pillar 1
36 252604415 空调罩总成 Rear Wall 1
37 252901218 后横梁总成 Rear Beam 1
056 驾驶室系统 型号 500FN (20130607091440)
Cab Assembly Model 500FN (20130607091440)-- XCMG Loader LW500FN Parts Catalog

件号 部件号 零件名称 数量 备注
Item Part No. Part Name Qty Remarks
1 251806148 前围板焊接总成 Front Cover 1
2 805000021 螺栓 M8伊50 Bolt M8伊50 4 GB/T5783-2000
3 251806253 垫片 Washer 4 GB/T 97.1-2002
4 805300117 垫圈 8 Washer 18 GB/T96.1-2002
5 805300010 垫圈 8 Washer 18 GB/T 93-1987
6 805000048 螺栓 M12伊35 Bolt 4 GB/T5783-2000
7 805300020 垫圈 12 Washer 8 GB/T97.1-2002
8 805300018 垫圈 12 Washer 8 GB/T93-1987
9 251806248 仪表箱总成 Instrument Panel 1
10 251805547 驾驶室总成 Cab 1 配暖风
251805875 驾驶室总成 Cab 1 配空调
11 252800192 减震器组件 Absorber 4
12 252800195 隔板 Plate 8
13 805002042 螺栓 M20伊110 Bolt 2
14 252904026 两联操纵杆系 Joy Stick 1 配两联
252904031 三联操纵杆系 Joy Stick 1 配三联
15 805000043 螺栓 M10伊30 Bolt 13 GB/T5783-2000
16 805300017 垫圈 10 Washer 19 GB/T97.1-2002
17 805300014 垫圈 10 Washer 19 GB/T93-1987
18.1 801968889 座椅 Seat 1 XGZY01-V配暖风冤
18.2 801968890 座椅 Seat 1 XGZY03-AII(配空调)
19 251806762 操纵箱 Control Box 1
20 805001909 螺栓 M24伊140 Bolt 2 GB/T 5782-2000
21 805300034 垫圈 24 Washer 2 GB/T93-1987
22 805300021 垫圈 24 Lock Washer 2 GB/T97.1-2002
23 805201519 螺母 M24 Nut 2 GB/T6182-1986
24 801938261 封盖 Cover 2
25 252605924 暖风盖板 Plate 1 配暖风
26 252605925 暖风盖板密封垫 Seal 1 配暖风
27 805000716 螺栓 M12伊30 Bolt 4 GB/T 5783-2000
28 805000020 螺栓 M8伊30 Bolt 10 GB/T5783-2000
29 251805058 压板 Plate 2
30 251805826 地板橡胶 Rubber Cushion 1 配暖风
251805876 地板橡胶 Rubber Cushion 1 配空调
31 251806156 暖风风管总成 I Pipe 1
32 251806159 暖风风管总成 II Pipe 1
33 251805675 座椅安装板总成 Seat Fixing Plate 1 配暖风
251805764 座椅安装板总成 Seat Fixing Plate 1 配空调
34 80500727 螺栓 M10伊25 Bolt 6 GB/T5783-2000
35 251806251 压板 Plate 1 配空调
36 80500017 螺栓 M8伊25 Bolt 4 GB/T5783-2000
Full range of spare parts for XCMG Wheel Loader ZL50G, ZL50GN, LW500F, LW500FN, LW500K,LW500KN
XCMG Wheel Loader Spare parts, whatsapp 86-18630852087
LW500FN WHEEL LOADER PARTS MANUAL
LW500FN 轮式装载机零件手册
XUGONG SCIENCE & TECHNOLOGY CO.,LTD.
徐州工程机械科技股份有限公司
Related parts:
Related parts:
Engine assembly, axle assembly, Front Axle, Rear Axle, Front Drive Shaft, Rear Drive Shaft, Main Driving Shaft, Transmission assembly, main drive, hub reducer, crown pinion, planet carrier assembly, sun gear, Torque Converter,
Torque Converter assembly, Air-conditioner, Fuel tank, Inlet Oil Hose, Outlet Oil Hose, Washer, Flange,Water radiator,Muffler, Supporting Bracket, Rubber Block, Fuel Cutoff Solenoid Valve, Accelerator Control Valve, Oil Filter
Steel Ring, Nut, Brake assembly, Carrier assembly, Pinion Gear, Bevel Gear, Bearing Seat, Lock plate, Cover, Differential assembly, Thrust washer, Cross shaft, Pinion washer, Planet pin,
Sleeve, Pin, Oil seal seat, Hub, Compound seal, Gear ring, Spacer, Brake disc, Brake caliper, Pin shaft, Injector, Nozzle, Clamp, Friction plate, Dustproof ring, Piston, Hose, Transmission filter, Paper Pad, Oil Inlet Flange,
Ball Articulating Joint, Shift Pump, Transmission pump, Steering unit, Right Angle Joint, Oil Outlet Flange, Elastic Plate, Turbine, Turbine Seat, Idle Pulley, Pump Wheel, Pump Wheel Seat, Frame Oil Seal, Retaining Ring,
Driven Gear, Idler Pulley Seat, Torque Converter Housing, Pressure Reduction Valve, Clutch Disc, Steel Ball, Piston Ring, Snap Ring, Gear, Roller Bearing, Middle Shaft, Cotter Pin,
Transmission Control Valve, Yoke, Shift Control, Joystick, Steering cylinder, Boom Cylinder, Tilt cylinder, Tilting cylinder, Distributing Valve, Steering Wheel, Steering Column, Valve Block, Steering Control Unit
Rotator & Stator, Tank, Level Gauge, Flange Joint, Supporting Ring, Tube, Bracket, Clamp cylinder, List cylinder, Control Valve, Wiper, Wiper Blades, Wiper motor, Engine Oil Pressure Meter, Working Lamp, Water temperature Meter, Fan
Signal Lamp, Air Pressure Meter,Head lamp, Oil Temperature Meter, Timer, Switch, Warning Buzzer, Fuse box, Oil Pressure pipe, Rear lamp, Temperature Sensor, Tail Lamp, Pressure switch,Alternator, Starter, Temperature Sensor,
Instrument panel, Front Chassis Wire Assembly, Front Lamp, Front Chassis, Lift Cylinder Pin, Front Lamp Bracket, Tilt Cylinder Pin Shaft, Lift Arm Pin, Front Steering Pin, Rear Chassis, Rear Steering Pin, Lower Flange, Knuckle Bearing,
Upper Flange, Articulating Pin, Oil Injecting Pipe, Auxiliary Chassis, Bushing,Counter Weight, Rear Handrail, Lamp Bracket, Left Fender, Right Fender, Left Ladder, Right Ladder, Engine Hood,Door locker
Left Door, Right Door, Air spring, Cushion, Hinge, Lift Arm, Pitman Arm end Pin, Upper Shaft Pin, Link, Bucket, Bucket teeth, Middle teeth, Upper Clamp, Pin, Lower Clamp, Instrument Box
Rear Plate, Parking Brake, Compressor, Evaporator, Condenser, Condenser Bracket, Heater, Cut-off Valve, Braking Control Valve, Air Master, Air booster, Air tank, Water Draining Valve, Inflating Valve
Clutch housing, Thrust washer, Transmssion pump, Control valve, Snap ring, Clutch disk, Clutch assembly, Transmission housing,
Air filter, Liner, Liner Oring, Connecting rod bearint, Main bearing, Thrust bearing, Camshaft bushing, Connecting rod bushing, Piston, Piston pin, piston ring, Retainer ring, Connecting rod, Crankshaft, Camshaft, oil pump,
water pump, turbo charger, Cylinder head gasket, Overhaul gasket, Valve seal, Front crankshaft seal, Rear Crankshaft seal, Valve seal, Injector, Fuel pump, Fuel injection pump, Cylinder head, Cylinder body, Inlet valve, Outlet valve, Valve seat,
Valve spring, Valve guide, Sensor, Cutoff solenoid valve and etc