061 380605355 WORKING HYDRAULIC SYSTEM-- XCMG Motor Grader GR2205T Spare Parts Catalog
382301591 HYDRAULIC SYSTEM

No. PART NUMBER QTY NAME NOTE PAGE
7 803195652 1 HOSE ASSEMBLY whatsapp 86-18630852087
8 803106233 1 HOSE ASSEMBLY
9 803132119 5 PLUG
22 803103344 2 JOINT
23 803196196 3 JOINT
24 803103798 3 JOINT
25 803106554 1 PLUG
26 803379383 2 JOINT
27 803269345 1 JOINT whatsapp 86-18630852087
31 803104484 1 JOINT
32 803103775 11 JOINT
35 803446727 1 JOINT
37 803105653 9 JOINT
38 803104023 1 JOINT
39 803190683 9 JOINT
40 803107607 5 JOINT
44 329900302 4 THICKENED FLAT WASHER
45 805011330 4 BOLT M10×25 (DACROMET) GB/T5783-2000
86 804001643 1 MUTI WAY DIRECTIONAL VALVE 144 whatsapp 86-18630852087
062 380605355 WORKING HYDRAULIC SYSTEM-- XCMG Motor Grader GR2205T Spare Parts Catalog
382301591 HYDRAULIC SYSTEM

No. PART NUMBER QTY NAME NOTE PAGE
10 329900296 4 THICKENED LARGE WASHER whatsapp 86-18630852087
11 805046508 4 BOLT M8×20 (DACROMET) GB/T5783-2000
17 803163351 1 PIPE CLAMP
30 803300804 2 CUTTING FERRULE Φ50-11 TJBC
34 380605362 4 METAL PLATE whatsapp 86-18630852087
51 803411834 2 PIPE CLAMP
63 803181632 1 HOSE ASSEMBLY
64 803180799 1 HOSE ASSEMBLY
82 804002849 1 TILTING CYLINDER OF FRONT WHEEL 140 whatsapp 86-18630852087
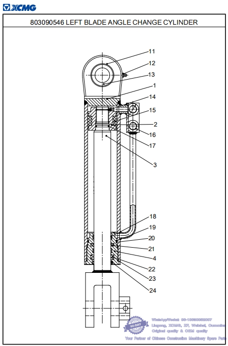
063 803090546 LEFT BLADEE ANGLE CHANGE CYLINDER-- XCMG Motor Grader GR2205T Spare Parts Catalog
380605355 WORKING HYDRAULIC SYSTEM

No. PART NUMBER QTY NAME NOTE PAGE
1 860500594 1 CYLINDER STRUCTURAL COMPONENT whatsapp 86-18630852087
2 860500563 1 PISTON
3 860500564 1 PISTON ROD STRUCTURAL COMPONENT
4 860500565 1 CYLINDER BODY
11 805400048 1 RETAINER RING 55 GB/T893.1-1986
12 801103215 1 OIL CUP M10×1 JB/T7940.1-1995
13 800515284 1 KNUCKLE BEARING GE35ES GB/T9163-2001
14 805100481 1 SCREW M6×8 GB/T78-2007
15 860500566 1 COMBINED SEAL RING 70×50×22.4/6.35 whatsapp 86-18630852087
16 860500567 1 INTERNAL THREAD PLUG PROTECTION
17 860500568 1 ORING 32×3.1
18 860500569 1 BACK-UP RING GBS-5809-40
19 860500570 1 ORING 70×3.1
20 860500571 1 RETAINER RING 70×65.2×1.5
21 860500605 1 STEP SEAL 40×55.1×6.3
22 860500603 1 RUJSEALING RING 40×55×11
23 860500574 1 ORING 71×2.65
24 860500602 1 DA22SCRAPER SEAL 40×48.6×5.3 whatsapp 86-18630852087
064 803090548 RIGHT BLADE ANGLE CHANGE CYLINDER-- XCMG Motor Grader GR2205T Spare Parts Catalog
380605355 WORKING HYDRAULIC SYSTEM

No. PART NUMBER QTY NAME NOTE PAGE
1 860500562 1 CYLINDER STRUCTURAL COMPONENT whatsapp 86-18630852087
2 860500563 1 PISTON
3 860500564 1 PISTON ROD STRUCTURAL COMPONENT
4 860500565 1 CYLINDER BODY
11 805400048 2 RETAINER RING 55 GB/T893.1-1986
12 801103215 1 OIL CUP M10×1 JB/T7940.1-1995
13 800515284 1 KNUCKLE BEARING GE35ES GB/T9163-2001
14 805100481 1 SCREW M6×8 GB/T78-2007
15 860500566 1 COMBINED SEAL RING 70×50×22.4/6.35
16 860500567 2 INTERNAL THREAD PLUG PROTECTION whatsapp 86-18630852087
17 860500568 1 ORING 32×3.1
18 860500569 2 BACK-UP RING GBS-5809-40
19 860500570 1 ORING 70×3.1
20 860500571 1 RETAINER RING 70×65.2×1.5
21 860500572 1 STEP SEAL 40×55.1×6.3
22 860500573 1 RUJSEALING RING 40×55×11
23 860500574 1 ORING 71×2.65
24 860500575 1 DA22SCRAPER SEAL 40×48.6×5.3 whatsapp 86-18630852087
065 803099045 CYLINDER FOR BLADE LIFT-- XCMG Motor Grader GR2205T Spare Parts Catalog
380605355 WORKING HYDRAULIC SYSTEM

No. PART NUMBER QTY NAME NOTE PAGE
1 860164368 1 DAS/DBM COMBINED SEALING whatsapp 86-18630852087
2 801138476 1 O-RING
3 860500620 2 BACK-UP RING GBS-5815-50
4 860504135 1 STEP SEAL 50×65.1×6.3
5 860164386 1 O-RING
6 803305449 1 RETAINER RING 80×75.2×1.5 whatsapp 86-18630852087
7 860161147 1 O-RING
8 803384350 1 SHAFT SEAL 50×60×7.3
9 803380412 1 DA17 SCRAPER SEAL
10 801100336 1 OIL CUP M10×1 JB/T7940.1-1995 whatsapp 86-18630852087